煤的结渣性测定仪 煤质检测仪器宇成生产
煤的结渣性测定仪,煤质检测仪器生产,煤的结渣性测定仪厂家,煤的结渣性测定仪介绍,煤的结渣性测定仪价格
泰安宇成生产实验室煤质检测仪器,包括有煤的可磨性指数测定仪,煤的结渣性测定仪,碳氢元素测定仪,胶质层指数测定仪,煤的灰熔融性测定仪,煤的抗碎强度测定仪等等,煤的结渣性测定仪一起认识一下。
一、煤的结渣性测定仪工作原理:
将煤制成粒度为3-6mm的试样,装入仪器的气化室内,用同样粒度的木炭引燃,在一定的鼓风强度下,使其气化或燃烧,待试样燃尽后,停止鼓风,冷却后取出炭渣称重,再经过6mm筛孔的振筛,计算出大于6mm的炭渣重占炭渣的百分数即为结渣率,以此评价煤的结渣性。
二、煤的结渣性测定仪技术指标:
鼓风机:风量≥12m3/h
风压:≥49hPa
煤样粒度:3-6mm
装样量:400cm3
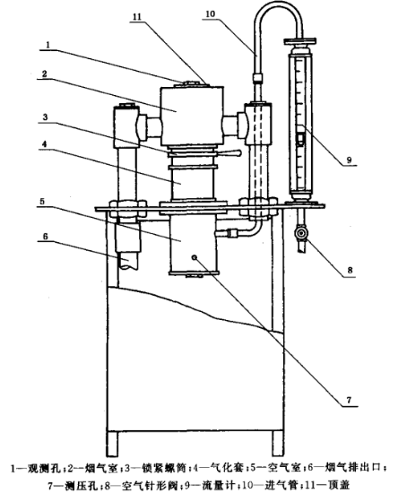
三、煤的结渣性测定仪结构图:
四、煤的结渣性测定仪应配设备:
1、鼓风机:风量不小于12m3/h,风压不小于49hPa(500mmH2O)。
2、马弗炉:炉内加热室不小于下列尺寸:高140mm、宽200mm、深320mm。炉后壁或上壁应有排气孔,并配有控制器。
3、工业天平:称量1kg,感量0.01g。
泰安宇成煤的结渣性测定仪是根据国标GB1572-89《煤的结渣性测定方法》规定技术要求研制成的仪器。可直接判断煤在气化或燃烧过程中结渣难易程度。应用于煤炭、冶金、电力等部门化验室,特别是以煤为燃料的单位,如有锅炉单位,能事先测定结渣性,以便指导现场选配煤种,防止结渣。
联系人:张经理 手机:15615688851(微信同号)
QQ:2656653994 座机:0538-6626868
地址:泰安市岱岳区青春创业开发区
