品牌:苏州信科宣
发货地:江苏
重量:25kg
起订:1台
供应:1000台
发货:3天内
立即购买
陕西煤矿给客户提供水封泄爆引压导爆管的安装方法。
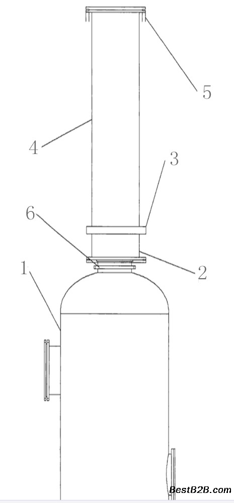
一、水封泄爆引压导爆管产品介绍
本实用新型设置了钢结构支架和钢平台,将导爆管的支撑点从泄爆桶转移到支撑平台,减轻了导爆桶的负担的同时增加了导爆管的稳固性。本实用新型采用的技术方案为:一种泄爆导爆装置,包括·泄爆桶、泄爆片、标准变径管、波纹管软连接、导爆管、钢结构支架和钢平台,泄爆片设置在泄爆桶和标准变径管之间,泄爆桶的顶端与标准变径管的
底端通过法兰连接固定在一起并将泄爆片压紧,标准变径管的顶端通过法兰与波纹管软连接的底端连接固定,波纹管软连接的顶端通过法兰与导爆管的底端连接固定,导爆管的顶端穿过房顶平台并伸出房顶平台外;所述钢结构支架为由多根钢柱搭建而成的空间结构,泄爆桶位于钢结构支架内, 钢平台位于钢结构支架顶部由钢结构支架支撑,且钢平台位于、
波纹管软连接和房顶平台之间,导爆管穿过钢平台。
童话里的故事很梦幻,电影里的情节很玄幻,不是所有只有成功的人才有未来,只要心存梦想,都会变成真实,祝你成功。
